ÒøÓéÓźñ»á717

tel

Ò»ÖÖÊÖ¶¯Ê½Æø¶¯µ÷½Ú·§µÄÔì×÷²½Öè

×÷Õߣº»¢ÑÀ  ÆðÔ´£ºwww.cmpvalve.com  ¸üй¦·ò£º2020-08-20 11:12:58  µã»÷´ÎÊý£º

¡¡¡¡±¾ÊµÓÃÐÂÐÍÉæ¼°´¬²°µ÷½Ú·§¼¼ÊõÁìÓò £¬¾ßÌåΪһÖÖÊÖ¶¯Ê½Æø¶¯µ÷½Ú·§¡£

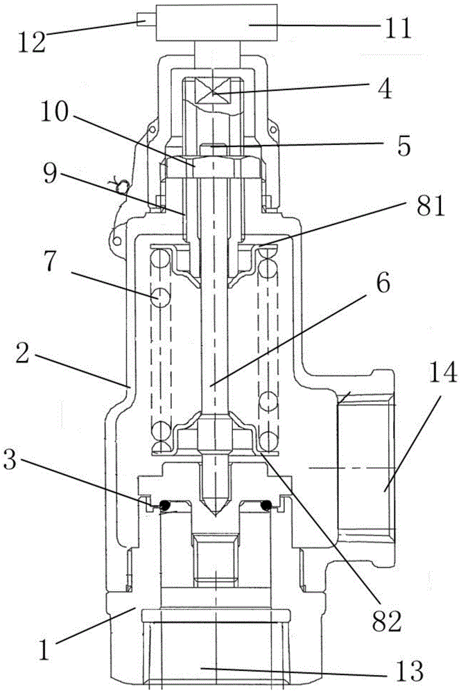
ÊÖ¶¯Ê½Æø¶¯µ÷½Ú·§ÕûÌå½á¹¹Í¼


¡¡¡¡²¼¾°¼¼Êõ£º


¡¡¡¡Æø¶¯µ÷½Ú·§¾ÍÊÇÒÔѹËõ¿ÕÆøÎª¶¯Á¦Ô´ £¬ÒÔÆø¸×ΪִÐÐÆ÷ £¬²¢½èÖúÓÚµçÆø·§ÃŶ¨Î»Æ÷¡¢×ª»»Æ÷¡¢µç´Å·§¡¢±¬Î¥·¨µÈ¸½¼þÈ¥Çý¶¯·§ÃÅ £¬ÊµÏÖ¿ª¹ØÁ¿»ò±ÈÀýʽµ÷½Ú £¬½Ó¹Ü¹¤Òµ×Ô¶¯»¯½ÚÔìϵͳµÄ½ÚÔìÐźÅÀ´ÊµÏÖµ÷½Ú¹Ü·½éÖʵÄÁ÷Á¿¡¢Ñ¹Á¦¡¢Î¶ȵȸ÷À๤ÒÕ²ÎÊý £¬Æø¶¯µ÷½Ú·§µÄÌØµã¾ÍÊǽÚÔìµ¥Ò» £¬·´Ó³¼±¾ç £¬ÇÒÐÔÖʰ²È« £¬²»ÐèÁí±íÔÙ²ÉÈ¡·À±¬´ëÊ© £¬Æø¶¯µ÷½Ú·§Í¨³£ÓÉÆø¶¯Ö´Ðлú¹¹ºÍµ÷½Ú·§ÏνÓ×°Öõ÷ÊÔ×é³É £¬Æø¶¯Ö´Ðлú¹¹¿É·ÖΪµ¥×÷ÓÃʽºÍË«×÷ÓÃʽÁ½ÖÖ £¬µ¥×÷ÓÃÖ´ÐÐÆ÷ÄÚÓи´Î»µ¯»É £¬¶øË«×÷ÓÃÖ´ÐÐÆ÷ÄÚûÓи´Î»µ¯»É¡£ÆäÖе¥×÷ÓÃÖ´ÐÐÆ÷ £¬¿ÉÔÚʧȥ·¢Ô´»òºöÈ»¹ÊÕÏʱ £¬×Ô¶¯¹éλµ½·§ÃųõʼËùÉèÖõĿªÆô»ò¹Ø¹Ø×´Ì¬¡£


¡¡¡¡Ä¿Ç°Êг¡ÉÏͨÓÃµÄÆø¶¯µ÷½Ú·§ £¬Í¨³£Ñ¡È¡ÂÝÎÆ½øÐз§Ìå¹Ì¶¨¡£ÕâÖֽṹµ¼ÖÂÆø¶¯µ÷½Ú·§²ð×°²»Òס£²»Ö»Ìá¸ßÁËÊÖ¹¤²Ù×÷µÄÀͶ¯Ç¿¶È £¬ÇÒÂŴβð×°ºóÈÝÒ׳öÏÖÊý¾Ý²»ÕýÈ· £¬Îó²î½Ï´óµÄÎÊÌâ¡£ÓÉÓÚ¼Ó¹¤Îó²î¡¢×°ÅäµÈ·½ÃæµÄÓ°Ïì £¬µ±Òƶ¯·§¸Ëʱ £¬·§°êÃÜ·âÃæºÍ·§×ùÃÜ·âÃæÖ®¼äµÄ²úÉú¿Ï¶¨¾àÀë £¬µ±±ØÒª¹Ø¹Ø¸Ã·§Ê± £¬ÎÞ·¨´ïµ½È«ÃÜ·â״̬ £¬Ð¹Â©Á¿´ó £¬ÓµÓмӹ¤ÄÑÌâ¡¢³É±¾¸ßµÄ¼¼Êõȱµã¡£


¡¡¡¡¼¼ÊõʵÏÖÉí·Ö£º


¡¡¡¡±¾ÊµÓÃÐÂÐ͵ÄÖ÷ÕÅÔÚÓÚÌṩһÖÖÊÖ¶¯Ê½Æø¶¯µ÷½Ú·§ £¬Í¨¹ýÔÚ·§Ìå±í²àÉèÖõ÷½ÚÂݸË £¬Í¨¹ýÊÖ¶¯µ÷½ÚËø½ôÂÝÄ¸Ëø½ôÆø¶¯µ÷½Ú·§ £¬ÒÔ½â¾öÉÏÊö²¼¾°¼¼ÊõÖÐÌá³öµÄÎÊÌâ¡£


¡¡¡¡ÎªÊµÏÖÉÏÊöÖ÷ÕÅ £¬±¾ÊµÓÃÐÂÐÍÌṩÈçϼ¼Êõ¹æ»®£ºÒ»ÖÖÊÖ¶¯Ê½Æø¶¯µ÷½Ú·§ £¬Ô̺¬·§Ìå¡¢·§¸Ç¡¢·§°ê×é¼þ¡¢ÏÎ½ÓÆ÷¡¢Éϲ¿·§¸Ë¡¢Ï²¿·§¸Ë¡¢µ¯»É¡¢µ¯»É×ù¡¢µ÷½ÚÂݸˡ¢Ëø½ôÂÝĸÒÔ¼°Æø¶¯Ö´ÐÐÆ÷ £¬ËùÊöÆø¶¯Ö´ÐÐÆ÷ÉèÓÚËùÊö·§ÌåµÄÉÏ·½ £¬ËùÊöÏÎ½ÓÆ÷Ò»¶Ëͨ¹ýÉϲ¿·§¸ËÓëÆø¶¯Ö´ÐÐÆ÷ÏνÓ £¬ËùÊöÏÎ½ÓÆ÷ÁíÒ»¶Ëͨ¹ýϲ¿·§¸ËÓë·§Ìå¹Ì¶¨ÏνÓ £¬ËùÊöµ÷½ÚÂݸËÉèÓÚËùÊöÏÎ½ÓÆ÷Á½²à £¬ËùÊöËø½ôÂÝĸÐý½ÓÓëËùÊöµ÷½ÚÂݸËÉÏ £¬ËùÊö·§¸ÇÉèÓÚËùÊöÆø¶¯Ö´ÐÐÆ÷Óë·§ÌåÖ®¼ä £¬ËùÊöϲ¿·§¸Ë϶ËÉèÓÚËùÊö·§°ê×é¼þÄÚ £¬ËùÊöϲ¿·§¸ËÁ½²àÉèÓе¯»É×ù £¬ËùÊöµ¯»ÉÉèÓÚËùÊöµ¯»É×ùÉÏ £¬ËùÊö·§ÌåÏ·½ÉèÓнø¿Ú £¬ËùÊö·§ÌåÓÒ²àÉèÓгö¿Ú¡£


¡¡¡¡ÓÅÑ¡µÄ £¬·§°ê×é¼þÔ̺¬·§°ê¡¢·§°ê×ù¡¢·§°êµ¯»ÉÒÔ¼°oÐÍÃÜ·âȦ £¬ËùÊö·§°ê×ùÉèÓÚ·§°êµÄÏ·½ £¬ËùÊöoÐÍÃÜ·âȦÉèÓÚËùÊö·§°êÓë·§°ê×ùÖ®¼ä £¬ËùÊö·§°êµ¯»ÉÉèÓÚËùÊö·§°ê×ùÓë·§ÌåÖ®¼ä¡£


¡¡¡¡ÓÅÑ¡µÄ £¬·§°ê³ÊtÐͽṹ £¬ËùÊö·§°êÖв¿ÉèÓа¼²Û £¬ËùÊö°¼²ÛÓëËùÊöϲ¿·§¸ËµÄµ×¶ËÏàÊÊÅä¡£


¡¡¡¡ÓÅÑ¡µÄ £¬µ¯»É×ùÓëËùÊöϲ¿·§¸Ë³Ê´¹Ö±½á¹¹ £¬ËùÊöµ¯»ÉÓëËùÊöϲ¿·§¸Ë³ÊƽÐнṹ¡£


¡¡¡¡ÓÅÑ¡µÄ £¬µ¯»É×ùÔ̺¬Éϵ¯»É×ùÒÔ¼°Ïµ¯»É×ù £¬ËùÊöÉϵ¯»É×ùÓëËùÊöϵ¯»É×ù³Ê¾¶Ïò¶Ô³ÆÉ¢²¼¡£


¡¡¡¡ÓÅÑ¡µÄ £¬Æø¶¯Ö´ÐÐÆ÷Ò»²à»¹ÉèÓеçÀÂÃÜ·âÌס£


¡¡¡¡ÓëÏÖÓм¼ÊõÏà±È £¬±¾ÊµÓÃÐÂÐ͵ÄÓÐÒæ³ÉЧÊÇ£º


¡¡¡¡(1)±¾ÊµÓÃÐÂÐÍͨ¹ýÆø¶¯µ÷½Ú·§Öеķ§Ìå¡¢Éϲ¿·§¸Ë¡¢Ï²¿·§¸Ë¡¢·§°ê¡¢Æø¶¯Ö´ÐÐÆ÷µÈ×é¼þÖ®¼äµÄÏ໥¹²Í¬ £¬ÀûÓÃÆø¶¯µ÷½Ú·§Äڵĵ÷½Ú¸Ë £¬Äܹ»ÊÖ¶¯µ÷¹ÇÆø¶¯µ÷½Ú·§µÄËø½ô½á¹¹ £¬Ê¹µÃµ÷½Ú·§»úÄܲ»±ä £¬½á¹¹µ¥Ò» £¬±ãÓÚ³ö²úÔì×÷ºÍ²Ù×÷¡£


¡¡¡¡(2)±¾ÊµÓÃÐÂÐÍͨ¹ýÔÚ·§°ê×é¼þÖÐÉèÖ÷§°ê×ùÒÔ¼°·§°êµ¯»É £¬Í¨¹ý·§°ê×ùÒÔ¼°·§°êµ¯»É £¬Ê¹Æø¶¯µ÷½Ú·§ÓµÓзÀÕñ¶¯ÐԺõÄÀûÒæ¡£


¡¡¡¡(3)±¾ÊµÓÃÐÂÐÍͨ¹ýÔÚ·§°ê×é¼þÖÐÉèÖÃoÐÍÃÜ·âȦ £¬Í¨¹ýoÐÍÃÜ·âȦÄܹ»Ôö³¤·§°êÓëϲ¿·§¸ËµÄÃÜ·âÐÔ¡£


¡¡¡¡(4)±¾ÊµÓÃÐÂÐÍͨ¹ýÔÚÆø¶¯µ÷½Ú·§ÖÐÉèÖÃÏÎ½ÓÆ÷ £¬Í¨¹ýÏÎ½ÓÆ÷ÏÎ½ÓÆø¶¯Ö´ÐÐÆ÷ÒÔ¼°·§Ìå £¬Ê¹µÃÆø¶¯Ö´ÐÐÆ÷ÄÜ´øÍ··§ÌåÔËÐС£


¡¡¡¡(5)±¾ÊµÓÃÐÂÐÍÔÚÉϲ¿·§¸ËÁ½²àÉèÖõ÷½ÚÂݸË £¬Í¨¹ýµ÷½ÚÂݸËÓëËø½ôÂÝĸ֮¼äµÄÅäºÍ £¬ÔÚÆô¹Ø·§ÃÅʱ £¬È·±£·§¸Ç¡¢·§ÌåÓë·§°êÖ®¼äµÄÃÜ·âÐÔά³ÖÓÅÁ¼¡£


¡¡¡¡(6)±¾ÊµÓÃÐÂÐÍͨ¹ýÔÚÆø¶¯Ö´ÐÐÆ÷Ò»²àÉèÖõçÀÂÃÜ·âÌ× £¬Äܹ»½«µçÀÂÏß²ØÓÚµçÀÂÃÜ·âÌ×ÖÐ £¬Ô¤·À±»±í½ç»·¾³Ó°ÏìʹÓá£


¡¡¡¡¸½Í¼×¢Ã÷


¡¡¡¡Í¼1ÎªÆø¶¯µ÷½Ú·§ÕûÌå½á¹¹Í¼£»


¡¡¡¡Í¼2Ϊ·§°ê×é¼þ½á¹¹Í¼¡£


¡¡¡¡¾ßÌåÖ´Ðз½Ê½


¡¡¡¡ÏÂÃæ½«½áºÏ±¾ÊµÓÃÐÂÐÍÖ´ÐÐÀýÖеĸ½Í¼ £¬¶Ô±¾ÊµÓÃÐÂÐÍÖ´ÐÐÀýÖеļ¼Êõ¹æ»®½øÐÐÃ÷ÏÔ¡¢ÆëÈ«µØÃèÊö £¬ÏÔÈ» £¬ËùÃèÊöµÄÖ´ÐÐÀý½ö½öÊDZ¾ÊµÓÃÐÂÐÍÒ»²¿ÃÅÖ´ÐÐÀý £¬¶ø²»ÊÇÈ«ÊýµÄÖ´ÐÐÀý¡£»ùÓÚ±¾ÊµÓÃÐÂÐÍÖеÄÖ´ÐÐÀý £¬ÄÜÁ¦Óòͨ³£¼¼ÊõÈËÔ±ÔÚûÓÐ×ö³ö´´ÔìÐÔÀͶ¯Ç°ÌáÏÂËù»ñµÃµÄËùÓÐÆäËûÖ´ÐÐÀý £¬¶¼ÊôÓÚ±¾ÊµÓÃÐÂÐͱ£»¤µÄÁìÓò¡£


¡¡¡¡Çë²ÎÔÄͼ1ºÍͼ2 £¬±¾ÊµÓÃÐÂÐÍÌṩһÖÖ¼¼Êõ¹æ»®£ºÒ»ÖÖÊÖ¶¯Ê½Æø¶¯µ÷½Ú·§ £¬Ô̺¬·§Ìå1¡¢·§¸Ç2¡¢·§°ê×é¼þ3¡¢ÏÎ½ÓÆ÷4¡¢Éϲ¿·§¸Ë5¡¢Ï²¿·§¸Ë6¡¢µ¯»É7¡¢µ¯»É×ù8¡¢µ÷½ÚÂݸË9¡¢Ëø½ôÂÝĸ10ÒÔ¼°Æø¶¯Ö´ÐÐÆ÷11 £¬Æø¶¯Ö´ÐÐÆ÷11ÉèÓÚ1µÄÉÏ·½ £¬Æø¶¯Ö´ÐÐÆ÷11Ò»²à»¹ÉèÓеçÀÂÃÜ·âÌ×12 £¬Í¨¹ýÔÚÆø¶¯Ö´ÐÐÆ÷11Ò»²àÉèÖõçÀÂÃÜ·âÌ×12 £¬Äܹ»½«µçÀÂÏß²ØÓÚµçÀÂÃÜ·âÌ×12ÖÐ £¬Ô¤·À±»±í½ç»·¾³Ó°ÏìʹÓà £¬ÏÎ½ÓÆ÷4Ò»¶Ëͨ¹ýÉϲ¿·§¸Ë5ÓëÆø¶¯Ö´ÐÐÆ÷11ÏνÓ £¬ÏÎ½ÓÆ÷4ÁíÒ»¶Ëͨ¹ýϲ¿·§¸Ë6Óë·§Ìå1¹Ì¶¨ÏνÓ £¬Í¨¹ýÔÚÆø¶¯µ÷½Ú·§ÖÐÉèÖÃÏÎ½ÓÆ÷4 £¬Í¨¹ýÏÎ½ÓÆ÷4ÏÎ½ÓÆø¶¯Ö´ÐÐÆ÷11ÒÔ¼°·§Ìå1 £¬Ê¹µÃÆø¶¯Ö´ÐÐÆ÷11ÄÜ´øÍ··§Ìå1ÔËÐÐ £¬µ÷½ÚÂݸË9ÉèÓÚÏÎ½ÓÆ÷4Á½²à £¬Ëø½ôÂÝĸ10Ðý½ÓÓëµ÷½ÚÂݸË9ÉÏ £¬ÔÚÉϲ¿·§¸Ë5Á½²àÉèÖõ÷½ÚÂݸË9 £¬Í¨¹ýµ÷½ÚÂݸË9ÓëËø½ôÂÝĸ10Ö®¼äµÄÅäºÍ £¬ÔÚÆô¹Ø·§ÃÅʱ £¬È·±£·§¸Ç2¡¢·§Ìå1Óë·§°ê31Ö®¼äµÄÃÜ·âÐÔά³ÖÓÅÁ¼ £¬·§¸Ç2ÉèÓÚÆø¶¯Ö´ÐÐÆ÷11Óë·§Ìå1Ö®¼ä £¬Ï²¿·§¸Ë6϶ËÉèÓÚ·§°ê×é¼þ3ÄÚ £¬Ï²¿·§¸Ë6Á½²àÉèÓе¯»É×ù8 £¬µ¯»ÉÉèÓÚµ¯»É×ù8ÉÏ £¬µ¯»É×ù8Óëϲ¿·§¸Ë6³Ê´¹Ö±½á¹¹ £¬µ¯»ÉÓëϲ¿·§¸Ë6³ÊƽÐнṹ £¬µ¯»É×ù8Ô̺¬Éϵ¯»É×ù81ÒÔ¼°Ïµ¯»É×ù82 £¬Éϵ¯»É×ù81Óëϵ¯»É×ù82³Ê¾¶Ïò¶Ô³ÆÉ¢²¼ £¬·§Ìå1Ï·½ÉèÓнø¿Ú13 £¬·§Ìå1ÓÒ²àÉèÓгö¿Ú14 £¬·§°ê×é¼þ3Ô̺¬·§°ê31¡¢·§°ê×ù32¡¢·§°êµ¯»É33ÒÔ¼°oÐÍÃÜ·âȦ34 £¬·§°ê×ù42ÉèÓÚ·§°ê41µÄÏ·½ £¬oÐÍÃÜ·âȦ34ÉèÓÚ·§°ê31Óë·§°ê×ù32Ö®¼ä £¬·§°êµ¯»É33ÉèÓÚ·§°ê×ù32Óë·§Ìå1Ö®¼ä £¬·§°ê31³ÊtÐͽṹ £¬·§°ê31Öв¿ÉèÓа¼²Û35 £¬°¼²Û35Óëϲ¿·§¸Ë6µÄµ×¶ËÏàÊÊÅä £¬Í¨¹ýÔÚ·§°ê×é¼þ3ÖÐÉèÖ÷§°ê×ù32ÒÔ¼°·§°êµ¯»É33 £¬Í¨¹ý·§°ê×ù32ÒÔ¼°·§°êµ¯»É33 £¬Ê¹Æø¶¯µ÷½Ú·§ÓµÓзÀÕñ¶¯ÐԺõÄÀûÒæ £¬Í¨¹ýÔÚ·§°ê×é¼þ3ÖÐÉèÖÃoÐÍÃÜ·âȦ34 £¬Í¨¹ýoÐÍÃÜ·âȦ34Äܹ»Ôö³¤·§°ê31Óëϲ¿·§¸Ë6µÄÃÜ·âÐÔ¡£


¡¡¡¡Ê¹Óò½Öè


¡¡¡¡ÔÚʹÓÃÆø¶¯µ÷½Ú·§Ö®Ç° £¬Ê×ÏȽøÐÐÃÜ·âÊÔÑé £¬ÔÚ·§ÃÅ´¦ÓڹعØ×´Ì¬Ê± £¬´Ó½ø¿Úͨ·ͨÈëÊÔÑé½éÖÊ £¬¹Û²ì³ö¿Úͨ·ÓÐÎÞй©¡£ÓÉÓÚ¼Ó¹¤Îó²î¡¢×°ÅäµÈ·½ÃæµÄÓ°Ïì £¬·§Ìå1¡¢Éϲ¿·§¸Ë5¡¢Ï²¿·§¸Ë6ÒÔ¼°·§°ê×é¼þ3Ö®¼ä»á²úÉúЩ΢µÄ¾àÀë £¬Òò¶øÎÞ·¨´ïµ½È«ÃÜ·â״̬ £¬¹¤×÷ÈËÔ±ÊÖ¶¯µ÷½ÚËø½ôÂÝĸ10 £¬ÔÚµ÷½ÚÂݸË9ÉϽøÐÐËø½ô·§Ìå1¡¢Éϲ¿·§¸Ë5¡¢Ï²¿·§¸Ë6ÒÔ¼°·§°ê×é¼þ3Ö®¼äËø½ô×°Öà £¬Ëø½ôÂÝ10ĸ´øÍ·µ÷½ÚÂݸË9˳ʹØëÐýת £¬ÔÚµ÷½Ú±íÂÝÎÆºÍµ÷½ÚÄÚÂÝÎÆµÄ¹²Í¬Ï £¬ÊµÏÖ¶ÔÆø¶¯µ÷½Ú·§µÄËø½ôµ÷½Ú¡£


¡¡¡¡Ö»¹ÜÒѾ­Ê¾³öºÍÃèÊöÁ˱¾ÊµÓÃÐÂÐ͵ÄÖ´ÐÐÀý £¬¶ÔÓÚÄÜÁ¦ÓòµÄͨ³£¼¼ÊõÈËÔ±¶øÑÔ £¬Äܹ»Àí½âÔÚ²»ÍÑÀ뱾ʵÓÃÐÂÐ͵ĵÀÀíºÍÐÄÁéµÄÇé¿öÏÂÄܹ»¶ÔÕâЩִÐÐÀý½øÐжàÖֱ䶯¡¢Åú¸Ä¡¢´úÌæºÍ±äÐÍ £¬±¾ÊµÓÃÐÂÐ͵ÄÁìÓòÓÉËù¸½È¨ÊÆÒªÇó¼°ÆäµÈͬÎïÏÞÔì¡£


¡¡¡¡¼¼ÊõÌØµã£º


¡¡¡¡1.Ò»ÖÖÊÖ¶¯Ê½Æø¶¯µ÷½Ú·§ £¬ÆäÌØµãÔÚÓÚ£ºÔ̺¬·§Ìå¡¢·§¸Ç¡¢·§°ê×é¼þ¡¢ÏÎ½ÓÆ÷¡¢Éϲ¿·§¸Ë¡¢Ï²¿·§¸Ë¡¢µ¯»É¡¢µ¯»É×ù¡¢µ÷½ÚÂݸˡ¢Ëø½ôÂÝĸÒÔ¼°Æø¶¯Ö´ÐÐÆ÷ £¬ËùÊöÆø¶¯Ö´ÐÐÆ÷ÉèÓÚËùÊö·§ÌåµÄÉÏ·½ £¬ËùÊöÏÎ½ÓÆ÷Ò»¶Ëͨ¹ýÉϲ¿·§¸ËÓëÆø¶¯Ö´ÐÐÆ÷ÏνÓ £¬ËùÊöÏÎ½ÓÆ÷ÁíÒ»¶Ëͨ¹ýϲ¿·§¸ËÓë·§Ìå¹Ì¶¨ÏνÓ £¬ËùÊöµ÷½ÚÂݸËÉèÓÚËùÊöÏÎ½ÓÆ÷Á½²à £¬ËùÊöËø½ôÂÝĸÐý½ÓÓëËùÊöµ÷½ÚÂݸËÉÏ £¬ËùÊö·§¸ÇÉèÓÚËùÊöÆø¶¯Ö´ÐÐÆ÷Óë·§ÌåÖ®¼ä £¬ËùÊöϲ¿·§¸Ë϶ËÉèÓÚËùÊö·§°ê×é¼þÄÚ £¬ËùÊöϲ¿·§¸ËÁ½²àÉèÓе¯»É×ù £¬ËùÊöµ¯»ÉÉèÓÚËùÊöµ¯»É×ùÉÏ £¬ËùÊö·§ÌåÏ·½ÉèÓнø¿Ú £¬ËùÊö·§ÌåÓÒ²àÉèÓгö¿Ú¡£


¡¡¡¡2.ƾ¾ÝÈ¨ÊÆÒªÇó1ËùÊöµÄÒ»ÖÖÊÖ¶¯Ê½Æø¶¯µ÷½Ú·§ £¬ÆäÌØµãÔÚÓÚ£ºËùÊö·§°ê×é¼þÔ̺¬·§°ê¡¢·§°ê×ù¡¢·§°êµ¯»ÉÒÔ¼°oÐÍÃÜ·âȦ £¬ËùÊö·§°ê×ùÉèÓÚ·§°êµÄÏ·½ £¬ËùÊöoÐÍÃÜ·âȦÉèÓÚËùÊö·§°êÓë·§°ê×ùÖ®¼ä £¬ËùÊö·§°êµ¯»ÉÉèÓÚËùÊö·§°ê×ùÓë·§ÌåÖ®¼ä¡£


¡¡¡¡3.ƾ¾ÝÈ¨ÊÆÒªÇó2ËùÊöµÄÒ»ÖÖÊÖ¶¯Ê½Æø¶¯µ÷½Ú·§ £¬ÆäÌØµãÔÚÓÚ£ºËùÊö·§°ê³ÊtÐͽṹ £¬ËùÊö·§°êÖв¿ÉèÓа¼²Û £¬ËùÊö°¼²ÛÓëËùÊöϲ¿·§¸ËµÄµ×¶ËÏàÊÊÅä¡£


¡¡¡¡4.ƾ¾ÝÈ¨ÊÆÒªÇó1ËùÊöµÄÒ»ÖÖÊÖ¶¯Ê½Æø¶¯µ÷½Ú·§ £¬ÆäÌØµãÔÚÓÚ£ºËùÊöµ¯»É×ùÓëËùÊöϲ¿·§¸Ë³Ê´¹Ö±½á¹¹ £¬ËùÊöµ¯»ÉÓëËùÊöϲ¿·§¸Ë³ÊƽÐнṹ¡£


¡¡¡¡5.ƾ¾ÝÈ¨ÊÆÒªÇó4ËùÊöµÄÒ»ÖÖÊÖ¶¯Ê½Æø¶¯µ÷½Ú·§ £¬ÆäÌØµãÔÚÓÚ£ºËùÊöµ¯»É×ùÔ̺¬Éϵ¯»É×ùÒÔ¼°Ïµ¯»É×ù £¬ËùÊöÉϵ¯»É×ùÓëËùÊöϵ¯»É×ù³Ê¾¶Ïò¶Ô³ÆÉ¢²¼¡£


¡¡¡¡6.ƾ¾ÝÈ¨ÊÆÒªÇó1ËùÊöµÄÒ»ÖÖÊÖ¶¯Ê½Æø¶¯µ÷½Ú·§ £¬ÆäÌØµãÔÚÓÚ£ºËùÊöÆø¶¯Ö´ÐÐÆ÷Ò»²à»¹ÉèÓеçÀÂÃÜ·âÌס£


¡¡¡¡¼¼Êõ×ܽá


¡¡¡¡±¾ÊµÓÃÐÂÐ͹«¿ªÁËÒ»ÖÖÊÖ¶¯Ê½Æø¶¯µ÷½Ú·§ £¬Ô̺¬·§Ìå¡¢·§¸Ç¡¢·§°ê×é¼þ¡¢ÏÎ½ÓÆ÷¡¢Éϲ¿·§¸Ë¡¢Ï²¿·§¸Ë¡¢µ¯»É¡¢µ¯»É×ù¡¢µ÷½ÚÂݸˡ¢Ëø½ôÂÝĸÒÔ¼°Æø¶¯Ö´ÐÐÆ÷ £¬Æø¶¯Ö´ÐÐÆ÷ÉèÓÚ·§ÌåµÄÉÏ·½ £¬ÏÎ½ÓÆ÷Ò»¶Ëͨ¹ýÉϲ¿·§¸ËÓëÆø¶¯Ö´ÐÐÆ÷ÏνÓ £¬ÏÎ½ÓÆ÷ÁíÒ»¶Ëͨ¹ýϲ¿·§¸ËÓë·§Ìå¹Ì¶¨ÏνÓ £¬µ÷½ÚÂݸËÉèÓÚÏÎ½ÓÆ÷Á½²à £¬Ëø½ôÂÝĸÐý½ÓÓëµ÷½ÚÂݸËÉÏ £¬·§¸ÇÉèÓÚÆø¶¯Ö´ÐÐÆ÷Óë·§ÌåÖ®¼ä £¬Ï²¿·§¸Ë϶ËÉèÓÚ·§°ê×é¼þÄÚ £¬Ï²¿·§¸ËÁ½²àÉèÓе¯»É×ù £¬µ¯»ÉÉèÓÚµ¯»É×ùÉÏ £¬·§ÌåÏ·½ÉèÓнø¿Ú £¬·§ÌåÓÒ²àÉèÓгö¿Ú¡£±¾ÊµÓÃÐÂÐÍͨ¹ýÆø¶¯µ÷½Ú·§Öи÷×é¼þÖ®¼äµÄÏ໥¹²Í¬ £¬ÀûÓÃÆø¶¯µ÷½Ú·§Äڵĵ÷½Ú¸Ë £¬Äܹ»ÊÖ¶¯µ÷¹ÇÆø¶¯µ÷½Ú·§µÄËø½ô½á¹¹ £¬Ê¹µÃµ÷½Ú·§»úÄܲ»±ä £¬½á¹¹µ¥Ò» £¬±ãÓÚ³ö²úÔì×÷ºÍ²Ù×÷¡£


±¾ÎÄÁ´½Ó£º/news/news2020820353.html
ÉÏһƪ£º¸ßѹµç¶¯µ÷½Ú·§µÄÔì×÷²½Öè
ÏÂһƪ£ºÒ»ÖÖ×ÔÁ¦Ê½µ÷½Ú·§µÄÔì×÷²½Öè

ÍÆ¼öÎÄÕÂ

µç¶¯µ÷½Ú·§ÊÇÔõôʵÏÖµ÷½ÚµÄ-2020-06-08
Æø¶¯µ÷½Ú·§ËµÃ÷Êé-2020-04-24
×ÔÁ¦Ê½µ÷½Ú·§µÄ¹¤×÷µÀÀí-2020-03-31
Æø¶¯µ÷½Ú·§µ÷ÊÔ²½Öè-2019-12-30
µ÷½Ú·§µÄ·§ÌåÀàÐÍÑ¡Ôñ-2019-12-19
µ÷½Ú·§µÄÁ÷ÏòÑ¡ÔñºÍÁ÷Á¿¸öÐÔÑ¡Ôñ-2019-12-19
ÎÒÃÇÔõôѡÔñ¸ßÎÂÐ͵綯µ÷½Ú·§ÄØ£¿-2019-12-11
µ÷½Ú·§Éè¼ÆµÄ¼¼ÊõÖ¸±ê-2019-12-06
¡¾ÍøÕ¾µØÍ¼¡¿