
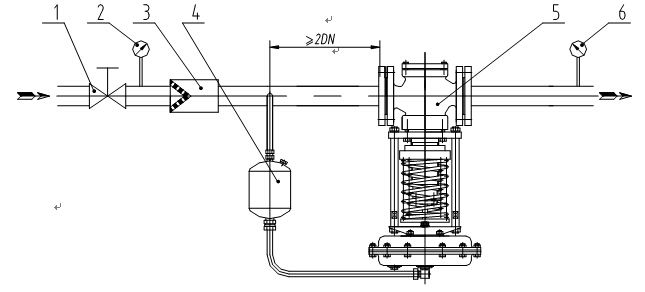
自力式调节阀装置图

自力式调节阀地面装置图
自力式调节阀的装置与调试
一、带指挥器型调压道理
指挥器操作型自力式压力调节阀无需表加能源,利用被调介质自身压力作为动力源,引入指挥器以节造主阀的阀芯地位来扭转阀门的介质流量,使阀后压力维持恒定。介质由阀体上箭头方向流经阀体,上游压力P1经过滤减压阀进入指挥器B室作为驱动源使用。受控的下游压力P2经到茏鬈传送到指挥检测室A,并在此转换成定位力。当下游压力升高或降低时,使指挥器阀芯位移,气源进入C,使调压阀趋向开启或关关,从而达到减压、稳压的主张。
二、装置当苦衷项:
1、阀门装置方向与流向肯定要保障一致。
2、阀门使用工艺参数肯定要与名牌一致。
3、管路内要求介质干净,无粉尘,僵硬的颗粒。
三、调试
1、缓慢打开阀前手动截止阀,并观察阀后管路压力表,查看压力是否在阀门设计值内。(注:瞬间打开阀前节造阀门)
2、如阀后压力与设计值一致,无需调试。
3、如阀后压力不在工艺值领域内,首先打开防雨罩,调整蝴蝶螺母。(顺使仉调节,阀后压力增大,反之减幼。)
4、如阀门有震荡或压力不不变。先观察减压阀压力,是否在2-2.5kg领域内。
5、如不在2-2.5kg领域内,调节略压阀使值落在以上领域内。
6、若是震荡,打开限流阀防雨罩,放松拼紧螺母,顺使仉动弹限流阀芯螺杆到底后再逆使仉动弹一周,再观察阀门是否震荡。
7、调试结束后,将拼紧螺母拼紧。